新疆天威建达线路器材制造有限公司欢迎您! 客服热线:0991-4836140
作者:超级管理员 来源:本站 发布时间:2024-04-24 14:35:18 浏览量:1525
前言
..................................................
输电铁塔和基础之间通过“螺丝”连接,
哦,不对,
应该是螺栓连接。
其实地脚螺栓也就是大号的“螺丝”。
不过到了这个级别的“螺丝”,
可不能在基础上“打孔”。
而是要预先把地脚螺栓布置好,
和基础整体一起浇筑。
..................................................

..................................................

安装铁塔时,
先套上塔脚板,
垫上垫块,
再拧上螺帽,
即大功告成!

地脚螺栓主要承担轴向拉力,
因此理所当然的按性能等级分类,
这里的性能等级主要是指——“抗拉强度”
规范规定:
铁塔螺栓连接宜采用
4.8级、6.8级、8.8级热浸镀锌螺栓及配套螺母,
有条件时也可采用10.9级螺栓。
这里的 4.8级、6.8级、8.8级均为
按 性能等级 给螺栓分类,
具体含义为:
点左边的数表示螺栓的抗拉强度,
为螺栓抗拉强度的1/100。
点右边的数为螺栓的屈强比,
即为螺栓屈服强度和抗拉强度的比值。
屈强比是指材料的屈服点(屈服强度)与抗拉强度的比值,屈强比太高则结构为脆性破坏,脆性破坏在土木里是严禁的,因为破坏时结构没有明显的变形产生即破坏,难以预防。受到地震力时,钢材首先达到屈服强度且强度不断发展,结构产生变形,这个变形为肉眼可见,结构破坏的先兆出现,人们得以提前发现并预防
示例:螺栓的公称抗拉强度800MPa,
屈强比为0.8,
则其性能等级标记为“8.8”。

关于地脚螺栓,
大家肯定经常看到这样的字眼:
Q235、Q345、
35 号优质碳素钢、45号优质碳素钢 、
40Cr合金结构钢和42CrMo合金结构钢。
这些都是按材质分类。
其实这些都是源自于旧规范:
DL 5154T-2012《架空送电线路杆塔结构设计技术规定》
按材质给地脚螺栓分类。
而地脚螺栓在最新的规范:
DL T 5486-2020 《架空输电线路杆塔结构设计技术规程》
DL T1236-2021《输电杆塔用地脚螺栓与螺母》中,
已经明确:
地脚螺栓修改为以螺栓性能来分类,
而不再指定地脚螺栓的材质,
以便安装螺栓的标准进行质量的控制。

▲ 12版杆塔规范地脚螺栓分类及强度值

▲ 20版杆塔规范地脚螺栓分类及强度值
地脚螺栓构造主要包括
螺杆、螺母、垫板和末端锚固构件。
咱们都知道,
末端带弯钩的肯定会拉的紧,
因此地脚螺栓的末端会设计成多种形状
来增加地脚螺栓的锚固力。
根据地脚螺栓的末端锚固型式,
地脚螺栓可分为:
J型地脚螺栓、T型地脚螺栓、
棘爪型地脚螺栓 和 双头型地脚螺栓。
1、J型地脚螺栓


▲ J型
J 型地脚螺栓结构简单,加工方便,
一般适用于承受荷载较小的杆塔。
J型地脚螺 栓末端锚固型式为 180°弯钩,
弯钩加强了地脚螺栓与混凝土的有效锚固。
因较大规格的螺栓加热弯曲比较困难,
加工精度不易控制。
考虑到J型地脚螺栓承载力小和加热弯曲加工工艺等情况,
推荐4.6级地脚螺栓采用J型。
根据4.6级地脚螺栓材料强度和加工精度等因素,
建议J型地脚螺栓规格控制在M36及以下。
2、T型地脚螺栓



T型地脚螺栓组装简单,
相比J型地脚螺栓更容 易垂直定位,
适用于承载力较小的杆塔。
T型地脚螺栓末端锚固部分采用锚板型式,
4块加劲板均匀分布并焊接在锚板和螺栓上,
加劲板在焊接中产生的热量会
对螺栓强度造成一定程度的削弱。
根据4.6级地脚螺栓材料强度低、
承载力小和可焊性等情况,
推荐 4.6级地脚螺栓锚固型式采用 T 型。
考虑到较小规格的T型地脚螺栓不易焊接,
加劲板和螺栓强度弱化等因素,
建议 T 型地脚螺栓的规格控制在M42及以上。
3、棘爪型地脚螺栓


棘爪型地脚螺栓末端锚固部分采用棘爪型式,
3个勾型钢筋均匀分布,
并焊接在螺栓上。
焊接勾型钢筋时产生的热量可能会对螺栓强度产生不利影响,
适用于承载力较高的杆塔。
设计时应注意棘爪不得超出混凝土保护层,
同时注意不与周边箍筋相碰。
如果棘爪与周边钢筋距离较小或相碰,
在安装过程中可调整棘爪方向,
避免埋置时 棘爪型地脚螺栓在锚固部分发生碰撞。
根据棘爪型 地脚螺栓的材料、承载力和型式特点等情况,
推荐 5.6级地脚螺栓采用棘爪型
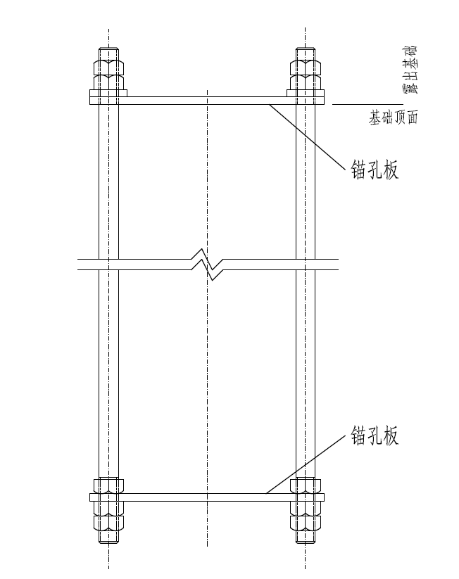
4、双头型地脚螺栓

双头型地脚螺栓因螺栓两端均有螺纹,
组装方便,承载力较高,
在工程中应用范围较广。
螺栓锚固部分采用锚孔板型式,
锚孔板固定在两个螺母之间,
可以提高地脚螺栓的抗拔能力。


根据 6.8 级和 8.8 级地脚螺栓的
材料性能、可焊性和承载力等情况,
推荐其采用双头型。
考虑地脚螺栓的材料、规格、
加工难易程度和材料可焊性等因素,
建议不同性能等级的地脚螺栓选取的
锚固型式和规格如下表:

以下这个表取自
《输电杆塔用地脚螺栓与螺母》

地脚螺栓的完整的命名/产品标记有以下部分组成:
标准编号、形式、螺纹规格×公称长度×螺纹长度-性能等级

例如:DL/T 1236 L M36×12×180-4.6
表示:标准编号DL/T 1236,
L型,
螺纹规格为M36、
公称长度1200mm、
螺纹长度180mm、
性能等级4.6级
具体到螺纹规格M36,
M36螺栓,M表示其螺纹为公制螺纹,
36是指螺栓的公称直径
(既你能测量到的螺栓外径为36mm)。
即为下图中的d值:

所谓打铁还需自身硬,
地脚螺栓作为铁塔和基础连接的纽带,
自己一定要满足铁塔上拔力的要求,
因此地脚螺栓的设计也非常简单。
根据规范:


即:
地螺数量×每个地螺有效面积×抗拉强度>铁塔上拔力
例如铁塔上拔力为:1400kN
(每个塔腿的上拔力)
采用4.6级4M64地脚螺栓能否满足?
查询得M64净截面积为2676mm²
4×2676mm²×160N/mm²=1713kN>1400kN
因此4.6级4M64地脚螺栓满足要求。
根据该公式可以灵活选择地脚螺栓数量、等级和面积。
一般每个塔腿配4个地脚螺栓,
因此咱们经常看到4M64等标识,
表示一个塔腿采用4个M64螺栓,
如果是整基铁塔则是16个M64螺栓。

当铁塔规格较大,塔腿上拔力较大时,
4个地脚螺栓不够用时,
还可以采用8个、12个等等。
此时踏角板也要特殊设计,
一般用在钢管组合塔上。

▲8M型地脚螺栓锚孔板
还有最后一个问题,
即上面的强度是地脚螺栓自身的强度,
即避免地脚螺栓拔断。
同时地脚螺栓与基础的粘固力也要满足上拔力要求。
即避免地脚螺栓被拔出。
这个就基本取决于地脚螺栓的锚固长度。
根据基础规范:


有上式可知锚固长度和钢筋直径有关。
根据《钢结构连接节点设计手册》
锚栓应设置弯钩、或锚板、或锚梁,
此时其锚固长度一般不宜小于25d。
《钢结构设计手册》规定,
对于弯钩型地脚螺栓和锚板地脚螺栓,
当埋入C15 混凝土基础时,锚固长度取25d;
当埋入C20 混凝土基础时,锚固长度取20d。